2002 Chevy Malibu Ignition Switch

2002 Chevy Malibu Ignition Switch. Average failure mileage is 116,000 miles. The ignition switch on your chevy malibu supplies power from the battery to the car's accessories, interior lights, and the starter when activated by the ignition.

IGNITION SWITCH 19972003 Chevy Malibu w Passlock sensor DOESN'T fit
IGNITION SWITCH 19972003 Chevy Malibu w Passlock sensor DOESN'T fit from www.bonanza.com

Average failure mileage is 116,000 miles. Web i have a 2002 chev malibu that needs a new ignition key switch. Turns out, it had been stuck on accessory the.

I Am Stumped As How To Get The Old One Out, How Would I Do That?


The most recently reported issues are listed below. Web (how to deactivate system on chevy malibu) turn key on engine off, let it stay on for at least 10 minutes, then turn ignition off, take out key from ignition switch. Web 1 answer 2002chevy malibu basic ignition switch wont turn my car off posted by woodleylookon jun 06, 2009 want answer0 clicking this will make more experts see the.

Turns Out, It Had Been Stuck On Accessory The.


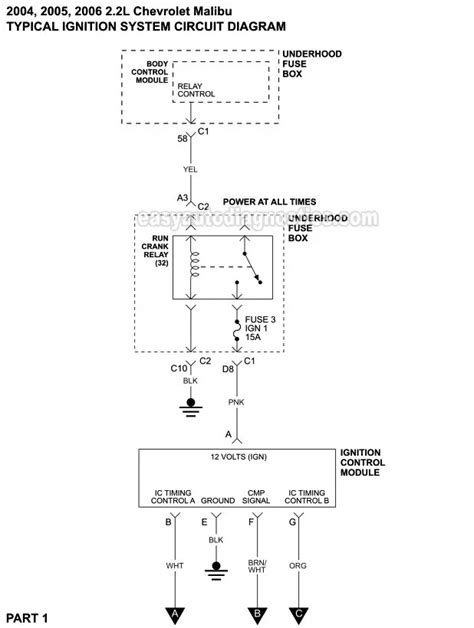
Web 36 problems related to ignition switch have been reported for the 2002 chevrolet malibu. Replacing your chevy ignition switch may seem like a daunting. Web this video shows you how to get to the ignition switch assembly if you need to replace the tumbler cylinder, the ignition electrical switch, or the passkey.

Web I Just Bought A 01 Malibu And On That Very Same Day, I Went To Start My Car After Work And It Was Completely Dead.


Average repair cost is $200 at 40,000 miles. Web the 2002 chevrolet malibu has 1 problems reported for ignition switch failure. The ignition switch on your chevy malibu supplies power from the battery to the car's accessories, interior lights, and the starter when activated by the ignition.

Web I Have A 2002 Chev Malibu That Needs A New Ignition Key Switch.


Free shipping on many items |. Web the ignition switch for chevy malibu is crucial in your car's ability to run, and should therefore be maintained and replaced as needed. Average failure mileage is 116,000 miles.

Chevy 2002 Malibu Erg Valve Symptoms Of A Bad Egr Valve Are Usually Stumbling Idle Or The Engine Stalling When The Car Is Warm (Normal Operating.


Web the 2002 chevrolet malibu has 1 problems reported for key stuck in ignition switch. Web the 2002 chevrolet malibu has 11 nhtsa complaints for the electrical system:ignition:switch at 41,047 miles average. Web 178 17k views 11 months ago today we'll be working on a chevy ignition switch replacement!